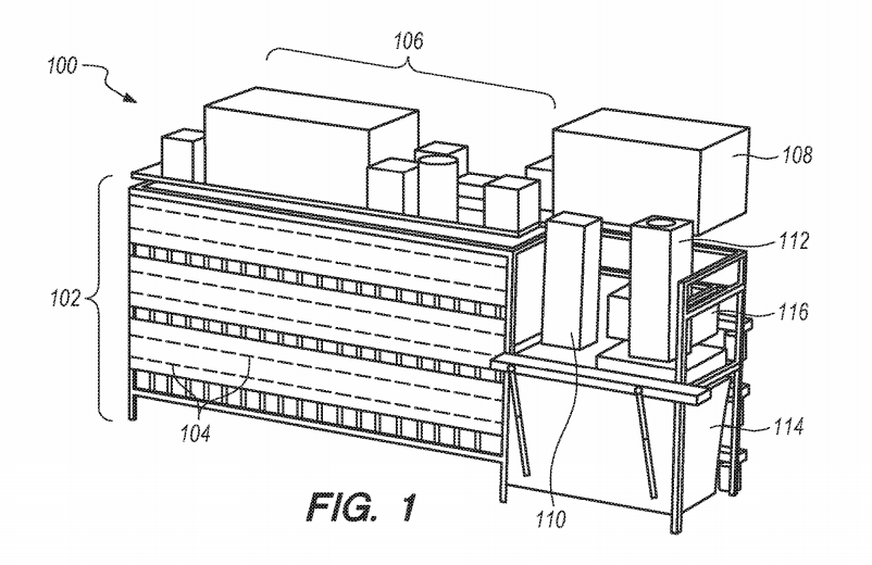
Патент є продовженням попередньо отриманого компанією ще в 2019 році, і демонструє систему, яка збирає страви, розподіляючи різні інгредієнти, що зберігаються у відсіках автоматичного пристрою, у миски, а потім переміщує зібрані страви до кабінок видачі.
Brightloom — саме та компанія, яка раніше під старою назвою Eatsa відкрила “ресторан майбутнього” у Нью-Йорку. Ще тоді там можна було замовити їжу через сенсорний екран, оплатити її онлайн і дочекатися видачі, коли твоє ім’я з’явиться на табло.
Посмотреть эту публикацию в Instagram
У 2019 році Eatsa відмовилася від своєї концепції, змінила назву, взяла гроші у Starbucks, і почала нову справу.
Нинішній апарат для автоматичного збору їжі говорить про те, що засновники стартапу не сиділи, склавши руки.

Патент дуже детально описує всю автоматизовану систему, разом з десятками зображень, що демонструють ємності для інгредієнтів, систему роздачі, конвеєрну стрічку, чаші і навіть інтерфейс користувача з сенсорним екраном.
До речі, він дуже нагадує ті, що були застосовані в ресторанах Eatsa.
Список винахідників патенту на 60 сторінок включає колишню команду з автоматизації та інженерії Eatsa, а також Дейва Фрідберга, колишнього засновника Climate Corp.
Невідомо, чи прагнуть власники Eatsa-зараз-Brightloom ліцензувати, продати технологію, чи реалізувати самостійно цю ідею на практиці. Проте уже зараз можна сказати, що тенденція автоматизованого збирання страв набирає неабиякі оберти.
Нагадаємо, раніше фіналіст GeekWire навчив свого робота-піцайоло місити тісто та складати сотні піц за годину. Тепер його може купити кожен.

